
DATA-DRIVEN INSIGHTS AND NEWS
ON HOW BANKS ARE ADOPTING AI
Dawn of new enterprise AI
Source: Adobe Firefly
15 January 2026
Quarterly results season is in full swing, and Donald Trump spoiled what was supposed to be a big party for the banks. But there is always one thing that seems to keep going up.
Also in the Banking Brief, a game of “follow the leaders.” That’s what we’re seeing play out in the sector through the Evident Use Case Tracker, which will be updated next week. Today, an exclusive preview.
And in our Big Ideas section, we look at the new frontier of general enterprise agents that the LLMs are pushing toward in 2026. It’s a risky journey but how it turns out will have big implications for AI adoption.
People mentioned in this edition: Jamie Dimon, Mike Mayo, Dermot McDonogh, Fiona Browne, Mark Wightman, Michael Höllerer and others.
This edition is 2,183 words, a 5 minute read. Check it out online. If you were forwarded the Brief, you can subscribe here. We always want to hear from you at [email protected].
– Alexandra Mousavizadeh & Annabel Ayles
TOP OF THE NEWS
WHAT GOES UP
Some mixed earnings reports and Donald Trump’s call to cap credit card interest rates spooked markets this week, sending stocks even of banks that beat expectations.
But something else came through clearly this week: Banks are doubling down on tech spending, and AI spend as a share of that budget has shot up this past year. That’s as true at flush banks who have capital to throw around as at those that are cutting costs generally but have carefully ringfenced AI spending from austerity drives.
For sure, executives still aren’t being as upfront about this spending trend as analysts and the markets would want them to be.
During the JPMorganChase results call Monday, the Wells Fargo analyst Mike Mayo sparred, rhetorically and amusingly, with CEO Jamie Dimon, pressing him repeatedly on where the bank’s $17-18 billion tech budget and an additional $9 billion in investment was going and what the “payoffs” from AI were. Dimon weaved on the details of the budget spend and bobbed about ROI. “The tech spend is always one of the harder ones to measure and evaluate,” he said. “Tech is going to go up.” At the end, Mayo came back: “You’re spending more in AI.” Dimon: “We will be spending more in AI.”
This isn’t exactly a scoop. What is less widely appreciated is the steepness of the spending line across the sector. Most banks we cover have told us, and they don’t break this out precisely in their results, that they have increased their AI spending by double or triple digits in percentage terms this past year — faster than in any previous year — that trend looks certain to continue into 2026. You can see it from the rising cost of cloud computing and hiring engineers and researchers to the non-tech roles that banks are adding in leadership, strategy and AI enablement (see the talent section of the Evident AI Index). The banks aren’t fibbing when they say they don’t always know precisely where the AI spend goes. Many aren’t even able to measure the rising spending at a granular level.
The execs also aren’t necessarily dodging when they say the returns aren’t straightforward to measure. Even if they keep saying it. For example, BNY’s CFO Dermot McDonogh on Tuesday: “We don’t think about [AI] in the narrow definition of efficiency… It’s all about growing with clients, increasing revenues and optimizing the potential for our employees.”
The truth is, big banks are only two to three years into testing Gen AI and early deployment and we are beginning to see tangible ROI, primarily through efficiency gains. Revenue uplift is emerging more slowly but that’s a feature not a bug of this transformative moment. The direction of travel is clearly upward – both on how big the investment is and what the potential returns could be. The banks in the lead are embedding AI across their business and building at scale, and are going to see those returns start to accelerate well before the lagging banks will.
ABOUT EVIDENT
Evident is the intelligence platform for AI adoption in financial services. We help leaders stay ahead of change with trusted insights, benchmarking, and real-time data through our flagship Banking Index, our new Insurance Index, Insights across Talent, Innovation, Leadership, Transparency and Responsible AI pillars, a real-time Use Case Tracker, community and events.
Watch our latest roundtable exploring the insights from our new Insurance Index, and get in touch to hear more about how Evident can help your business adopt AI faster.
USE CASE CORNER
CLUSTER BANKS
New AI use cases in banking are clustering in five focus areas, according to the latest data from the Evident Use Case Tracker, out next week.
We group the use cases announced by the 50 banks we track for the Evident AI Index into 10 application areas, ranging from Customer Engagement to Financial Reporting and Planning. The most common five applications drove 80% of new use cases in the last quarter of 2025, versus 64% of all use cases tracked since January 2024.
As this concentration shows, the early movers on AI are doubling-down on applications that have shown returns. We’re also seeing a “follow the leaders” mentality in play, as others pile in where the leaders have shown the way.
WHERE AI BETS ARE SHIFTING
The number of use cases unveiled by the 50 Evident AI Index banks since the beginning of 2024.
.png&w=3840&q=80)
In the last quarter, Product and Service Operations use cases surged to become the second most common area of investment. Examples range from credit underwriting assistants and slide-deck automation to automated complaints handling. Product and Service Operations is also the second most common area for use cases reporting measurable outcomes, indicating a growing alignment between investment priorities and outcomes-driven deployment.
More than ever, top-down AI mandates are now translating into tangible deployments found lower down in companies. In 2024, less than 10 of the 50 banks we track documented use cases tied to this application area, Today? It’s over 20.
“Agentic GeoAI,” a unique back-office automation released by Lloyds Banking Group, is a good example. This system accurately matches customer addresses to real physical locations – for example, linking a home address on a mortgage application to a property record used to audit internal systems and prevent fraud. Instead of making those associations from text matching alone, Lloyds employs agents to clean up addresses, narrow down location by geographic info, and resolve small discrepancies in how people say where they live.
While the task seems simple, the supporting architecture is not – including specialized agents for pre-processing, geospatial filtering, lightweight semantic embedding, and similarity search. Where possible, the system offloads GPU-heavy tasks to Facebook AI Similarly Search (which can be run on a basic CPU).
This implementation translates to hard (and well-documented) ROI. Agentic GeoAI showed huge gains versus their legacy system in average search time (800x), energy use per record (90% lower), match accuracy rates (+4%), emissions (-270 tonnes CO2e), and total cost (£171,315 saved).
NOTABLY QUOTABLE
“The way you get senior people… is by having a bunch of people be junior and then you figure out which ones are learning the field well enough to be at the next level. In the next two years, we’re going to find the best prompt engineers. I’m pretty sure the best prompt engineers are not the best managers.”
– David Magerman, cofounder of Differential Ventures and ex-head of product at Renaissance Technologies, on the Invested podcast, Jan. 7
BIG IDEAS
TALK TO MY AGENT
In these first editions of the new year, we’re exploring some of the big ideas we think will shape how banks approach AI in 2026. This week: general enterprise agents.
Last year’s big breakthrough for LLMs was “reasoning,” models that think for longer before answering. Reasoning models in coding agents like Claude Code have improved rapidly, and they are now capable of running for hours to solve challenging problems. But people who aren’t software engineers haven’t been able to take advantage of these new agentic capabilities. This year, that could change.
The top labs, like OpenAI and Anthropic, are betting billions that they can replicate their success with coding in the messy, subjective world of other work in a company. Anthropic is reported to be spending $1 billion on “enterprise environments,” a kind of practice range for its AI to figure out how to work with software that resembles what’s commonly used everyday, like Slack, Salesforce, and Excel. The idea is to allow agents to learn in these closed loops the way they learned to code, so they’ll be able to navigate sales pipelines or an HR workflow.
It’s a gamble. Stanford University researchers found that the underlying approach of reinforcement learning makes LLMs better at tasks they’ve already learned about from internet data. That makes sense for code – there’s plenty on the internet – but there’s a lot less open data on how to use spreadsheets or Salesforce.
Bottom line: We know AI can write code. This year will reveal if the billion-dollar bet on simulated environments can teach it to do a job.
STAT OF THE WEEK

As reported by BNY in their Q4 Earnings Call. The bank said these multi-agent support tools will work alongside existing staff to validate payment details, remediate code issues and ultimately free up time for more valuable client work.
TALENT MATTERS
DANISH DEBUT
Danske Bank appointed Fiona Browne its first Head of AI. Browne was previously an engineering manager at fintech outfit 9fin and brings nearly two decades of experience in AI and machine learning to the job.
Mark Wightman joined State Street as the firm’s new Head of Transformation, after 11 years at EY.
Michael Höllerer will take over as CEO of Austria’s Raiffeisen Bank International (RBI) in July. Höllerer previously served in upper management roles at RBI, including as CFO.
ON THE HORIZON
READ BETWEEN THE LINES
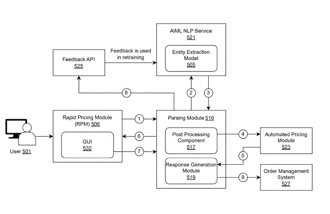
In this segment, we explore how a bank’s AI research advances their AI strategy. This week: JPMC’s patent (published November 2025) on AI Bots for Derivative Pricing aimed at streamlining a process that relies heavily on human interpretation.
The patent, explained: We’ve come a long way from hand signals on the trading floor, but derivatives price requests still arrive much as they always have: terse shorthand, fired over chat. A single line can encode timing rules, payoff mechanisms, and assumptions about the market that only experienced salespeople know how to unpack.
This patent describes a system that reads Requests for Quote (RFQs) in natural language, translates what the client means, sends the request for automated pricing, and replies in plain English.
What the bank can do with it: Standardizing how RFQs are interpreted saves time and reduces the risk that a misread abbreviation costs a trade.
The Evident AI Patent Tracker is our member-only database of 1500+ AI patents filed by 80 major banks and insurance companies, alongside our analysis of the latest trends in how patents contribute to firms’ AI strategies. Non-members can read some of the key insights from the tracker for banks here, and for insurers here.
IN THE NEWS
AI KILLS THE PROXY FIRM
The entire domestic workforce of Singapore’s three major banks – 35,000 in all – is off to AI bootcamps, courtesy of the city-state’s government. They will offer a basic AI literacy course for every banker, an AI collaboration course for managers, and an AI development and governance course for technical teams and upper management.
JPMorganChase’s asset management unit is saying bye-bye to all proxy-advisory firms and replacing them with a single in-house AI platform called Proxy IQ, in a first for a large investment firm. The decision comes after CEO Jamie Dimon called proxy firms “incompetent” and “should be gone and dead, done with” last spring. JPMC’s asset management unit will use Proxy IQ to manage proxy votes and analyze data from more than 3,000 annual company meetings and provide recommendations to its portfolio managers.
UAE-based neobank Mal completed the biggest seed round in the region’s history, taking in $230 million ahead of its official launch. The AI-native mobile-first startup is bringing on board alums from more established fintech challengers Revolut and Nubank.
A couple of Silicon Valley heavyweights are getting cozy with banks. Apple’s credit card has a new issuer in JPMC, while Microsoft said it is implementing Azure and Copilot at CIBC.
WHAT'S ON
Mon 19 - Fri 23 Jan
WEF, Davos, Switzerland
Tues 20 Jan
Achieving the AI Advantage, Davos, Switzerland
Weds 18 - Thurs 19 Feb
CDAO Financial Services, New York, NY
Tues 24 - Thurs 26 Feb
International Association for Safe & Ethical AI, Paris
- Alexandra-Mousavizadeh|Co-founder & CEO|[email protected]
- Annabel-Ayles|Co-founder & co-CEO|[email protected]
- Colin-Gilbert|VP, Intelligence|[email protected]
- Matthew-Kaminski|Senior Advisor|[email protected]
- Kevin-McAllister|Senior Editor|[email protected]
- Daniel-Shackleford-Capel|MD, Banking|[email protected]
- Maryam-Akram|Senior Research Manager|[email protected]
- Zachary Groz|Reporter|[email protected]
- Andrew-Haynes|VP, Innovation|[email protected]
- Alex-Inch|Data Scientist|[email protected]
- Sam-Meeson|AI Research Analyst|[email protected]
- Gabriel-Perez-Jaen|Research Manager|[email protected]
- Jay Prynne|Head of Design|[email protected]
- Marcus Gurtler|Junior Designer|[email protected]